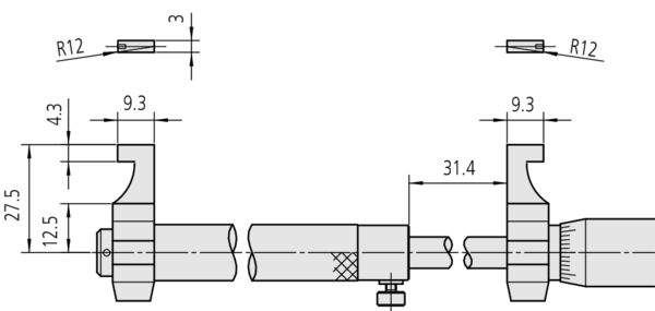
Mitutoyo Caliper Jaw Inside Micrometer 250-275mm 145-219

MitutoyoSKU: 145-219

Price:
Sale price€674.34 Regular price€923.75

Description

Related Products

Recently viewed