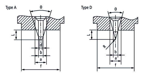
811-331-10 HH-331 Durometer Type A Long/Analogue Shore A Durometer HH-300 Series ø 18 mm

MitutoyoSKU: 811-331-10

Price:
Sale price€895.18

Description

Related Products

Recently viewed